The Orion™ KRF series vacuum pumps are the work horse of the industry, in all types of equipment, such as robotics, pick and place machines, vacuum chucking, graphic art, printing, material handling, air sampling, suction lifting, packaging, vacuum sealing, and blow molding. The Orion™ KRF series is the direct replacement for the Orion™ KRS and KRX series of vacuum pumps.
Jallo carries complete units in stock, direct replacements, as well as many parts in stock. We also carry rebuild kits to completely overhaul your Orion™ KRF-15, KRF-25, KRF-40, KRF-70, and KRF-110 vacuum pumps, or if you prefer, ship your KRF pump to us and we will give you a free estimate on the repairs needed to rebuild your pump. The Orion™ KRF series of vacuum pumps are the updated versions of the Orion™ KRX series of vacuum pumps.
Orion KRF-25 Vacuum and Pressure Specifications
| Model | Motor | RPM | HP | CFM | Max. Hg" | Max. PSI | LBs | KGs |
|---|---|---|---|---|---|---|---|---|
| KRF25-SS-7501-G3 | No Motor | 17.0 | 27.5" | 14 psig | 32.0 | 14.0 | ||
| KRF25-SS-7501-G1 | 208-230/460V | 1750 | 1.0 | 17.0 | 27.5" | 14 psig | 58.0 | 26.0 |
Performance Specifications
- Standard voltage for 3 phase pump is 208-230/460V 3ph 60hz.
- All pumps are available in 50hz frequency and with other voltages.
- Oil free, maintenance free, and quiet operation (70 dB).
- Compact lightweight design intended to handle vacuum and/or pressure applications.
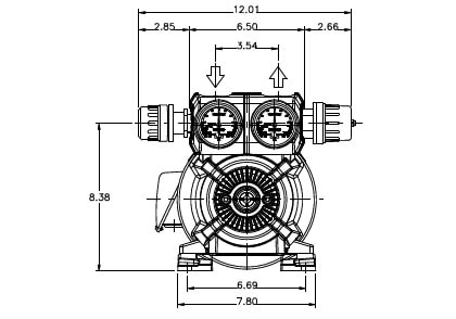
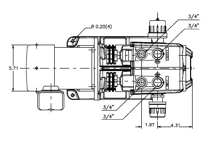
External Dimensions
Orion KRF-25 Part Breakdown
| # | Part | Part Number | Quantity |
|---|---|---|---|
| 1 | Vacuum Regulator | JVP-1001-00024 | 1 |
| 2 | Pressure Regulator | JVP-1001-00023 | 1 |
| 3 | Vac Gauge | JVP-ALL-00037/38 | 1 |
| 4 | Prs Gauge | JVP-ALL-00038/38 | 1 |
| 5 | SDX Case Complete | Contact | 1 |
| 6 | Manifold Bolt | JVP-1001-00077 | 2 |
| 7 | Manifold Cap (V) | 3039261020 | 1 |
| 7.1 | Manifold Cap (B) not shown | 3039262010 | 1 |
| 8 | Manifold Cap Gasket | JVP-1001-00013 | 2 |
| 9 | SDX Case Only | Contact | 1 |
| 10 | Plug | 4039361010 | |
| 11 | Filter Rod | 4039360040 | 2 |
| 12 | *Filter | JVP-1001-00027-A | 1 |
| 13 | *Spring Tube | JVP-1001-00029V | 2 |
| 14 | *Filter Gasket | 03039263010 | 2 |
| 15 | Filter Case | 03039285010 | 1 |
| 16 | *Gasket Washer | JVP-1001-00033A | 2 |
| 17 | Knob | JVP-1001-00033 | 2 |
| 18 | Muffler Cover | 3039286010 | 1 |
| 20 | *Manifold Gasket | JVP-1001-00013 | 2 |
| 22 | Fan | 03100238010 | 1 |
| 23 | Bearing/Retainer Cover | Contact | 2 |
| 24 | *Liner/Shim | JVP-5-00010 | 10 |
| 25 | *Bearing | JVP-5-00006 | 2 |
| 26 | *Bearing Spacer | 04039357010 | 2 |
| 27 | Side Plate NonDrive | Contact | 1 |
| 28 | Pin | 33611111300 | 4 |
| 29 | Rotor | Contact | 1 |
| 30 | Key | Contact | 1 |
| 31 | *Vane/Blade | JVP-5-00003 | 4 |
| 33 | Side Plate MS | Contact | 1 |
| 34 | Pump Side Coupling | 04000339010 | 1 |
| 35 | * Spider-Flexible Coupling | 04002338010 | 1 |
| 36 | Motor Side Coupling | 04000339070 | 1 |
| 37 | Motor | KRF-25 3-Phase | 1 |
| 39 | Base | 03100218010 | 2 |
| 40 | Filter Delivery Element | JVP-1001-00026-A | 1 |
| 41 | Motor Joint | Contact | 1 |
| 42 | Main Cover | Contact | 1 |
| 43 | SD Case Cover | Contact | 1 |
| 44 | Cylinder | Contact | 1 |
| 45 | Shelter Plate Orion O | Contact | 1 |
| Rebuild Kit | REB-KRF-25 | 1 |
Product Manual
Orion KRF-25 Rebuild Kit Part List
| Description | Product ID | Quantity |
|---|---|---|
| Filters | JVP-1001-00027 | 2 |
| Spring Tube, new style, Filter-side | JVP-1001-00029V | 2 |
| Rubber Gaskets for Filter Case and Muffler Cover | 03039263010 | 2 |
| Washer Gaskets for Filter Knobnut | JVP-1001-00033A | 2 |
| Manifold Gasket | JVP-1001-00013 | 2 |
| Shims / Liners | JVP-5-00010 | 10 |
| Bearings | JVP-5-00006 | 2 |
| Bearing Spacers | 04039357010 | 2 |
| Vanes | JVP-5-00003 | 4 |
| Spider Flexible Coupling | 04002338010 | 1 |